Late Würm and Early-Middle Holocene Environmental Change and Human Activities in the Northern Apennines, Italy
Downloads
Pubblicato
Fascicolo
Sezione
Licenza
La licenza adottata è la Creative Commons - Attribuzione/Condividi allo stesso modo. Ovvero, gli autori che pubblicano su questa rivista accettano le seguenti condizioni:
- Gli autori mantengono i diritti sulla loro opera e cedono alla rivista il diritto di prima pubblicazione dell'opera, contemporaneamente licenziata sotto una Licenza Creative Commons - Attribuzione che permette ad altri di condividere l'opera indicando la paternità intellettuale e la prima pubblicazione su questa rivista.
- Gli autori possono aderire ad altri accordi di licenza non esclusiva per la distribuzione della versione dell'opera pubblicata (es. depositarla in un archivio istituzionale o pubblicarla in una monografia), a patto di indicare che la prima pubblicazione è avvenuta su questa rivista.
- Gli autori possono diffondere la loro opera online (es. in repository istituzionali o nel loro sito web) prima e durante il processo di submission, poiché può portare a scambi produttivi e aumentare le citazioni dell'opera pubblicata.
DOI:
https://doi.org/10.13138/2039-2362/1191Abstract
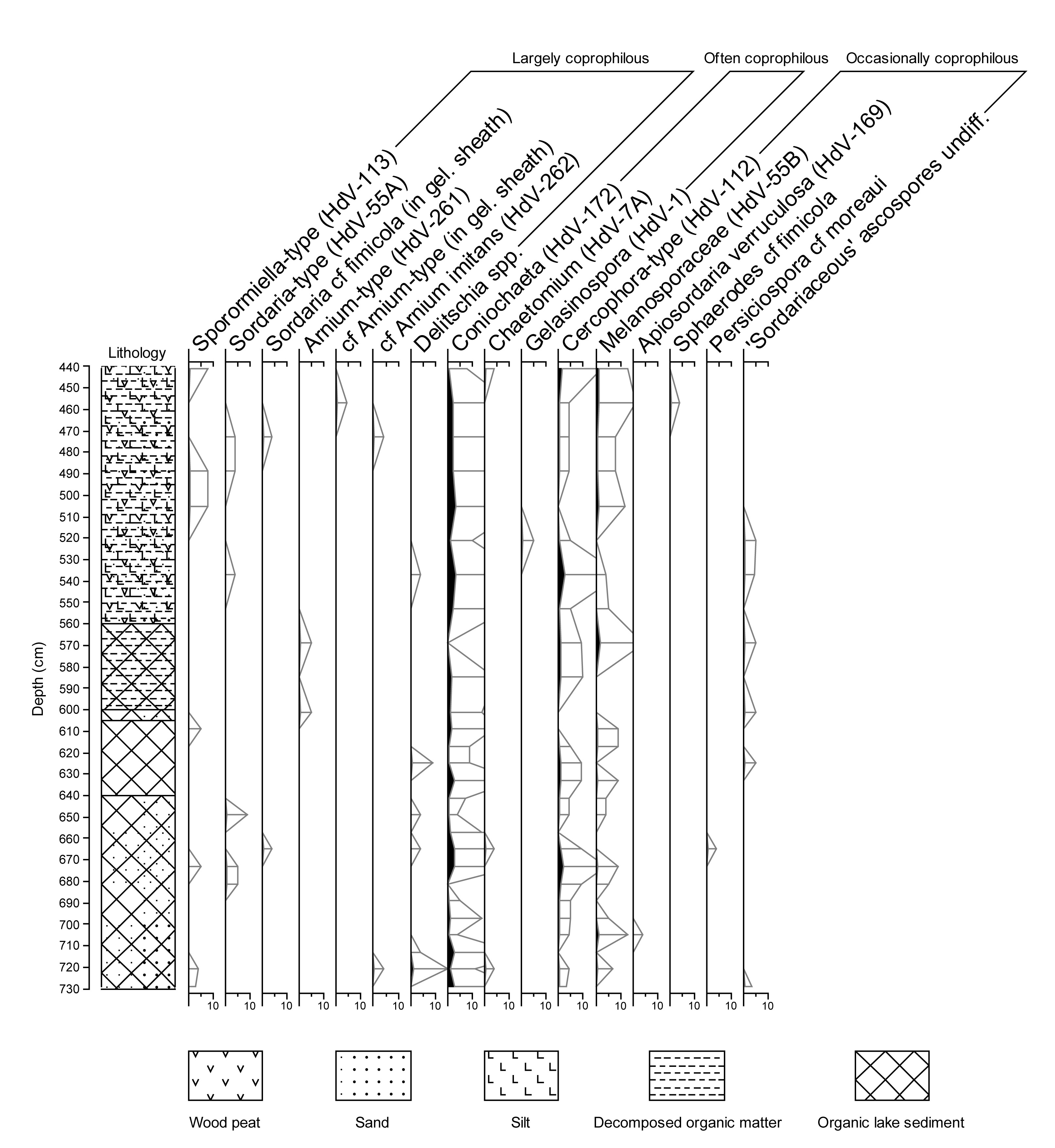
An enhanced radiocarbon-dated pollen-stratigraphical record from Rovegno (Liguria, 812m asl), northern Apennines (Italy), has provided a history of vegetation succession from before 17,056-16,621 cal yrs BP to the present day. The record indicates the transition from open Pinus woodland to Artemisia dominated grassland, and fi nally Juniperus shrubland during the late Würm. This is succeeded by Betula and Pinus woodland, and the expansion of thermophilous taxa, namely Abies, Corylus and Quercus during the Late Würm Lateglacial Interstadial. The ‘Younger Dryas’ is possibly represented by an increase in Betula and Artemisia. During the early Holocene, mixed coniferous-deciduous woodland is dominant with Quercus, as well as Abies, Fagus and Corylus. Fagus woodland becomes established sometime before 6488-6318 cal yrs BP, but never becomes a major component of the woodland cover. Throughout the middle Holocene, Abies woodland fl uctuates, with marked declines between 6488-6318 cal yrs BP and 5287-4835 cal yrs BP, although the cause remains uncertain. Finally, the paper evaluates the application of non-pollen palynomorphs, especially coprophilous fungal spores, at Prato Spilla ‘A’ (Emilia Romagna) and concludes that greater caution must be used when interpreting middle Holocene human activity based upon pollen data alone.
Una migliore risoluzione cronologica basata su date radiocarboniche per una sequenza pollinica da Rovegno (812 m asl, Appennino settentrionale ligure, Italia), ha permesso di ricostruire i cambiamenti vegetazionali per un periodo compreso da prima di 17,056-16,621 anni cal BP ad oggi. La sequenza mostra il passaggio da un bosco a Pinus con struttura aperta ad una prateria dominata da Artemisia, ed infine un arbusteto a Juniperus nel tardo Würm. Successivamente si sviluppa un bosco a Pinus e Betula, e verso la fine dell’ultimo interstadiale würmiano ha luogo l’espansione di taxa termofili quali Abies, Corylus e Quercus. Il ‘Dryas recente’ è forse rappresentato da un aumento in Betula e Artemisia. Durante l’Olocene antico prevale il bosco misto a conifere e latifoglie decidue con presenza di Quercus, oltre che Abies, Fagus e Corylus. La faggeta appare stabilirsi poco prima di 6488-6318 anni cal BP, senza tuttavia mai divenire una componente principale della copertura forestale. Nel corso dell’intero Olocene medio si verificano oscillazioni nelle percentuali del bosco ad Abies, con cali decisi tra 6488-6318 anni cal BP e 5287-4835 anni cal BP, sebbene per cause ancora da chiarire. Infine, l’articolo si sofferma sull’applicazione dei palinomorfi non pollinici, in particolare spore di funghi coprofili, al sito di Prato Spilla ‘A’ (Emilia Romagna), sottolineando come sia necessario adoperare grande cautela nella interpretazione di attività antropiche medio oloceniche, quando ci si basi unicamente su dati pollinici.
Riferimenti bibliografici
Abbate E., Bettelli G., Boccaletti M., Bonazzi U., Bortolotti V., Braga G., Cantalamessa G., Casnedi R., Centamore E., Coli M., Dallan Nardi L., Decandia F.A., Deiana G., Elter G., Fazzini P., Forcella F., Gasperi G., Gelati R., Gelmini R., Giannini E., Lazzarotto A., Marchetti G., MontefortiB., Nardi R., Pialli G.P., Pieruccini U., Plesi G., Puccinelli A., Raggi G.,Romano A., Sandrelli F., Verani M., Zanzucchi G. (1982), Carta Strutturale dell’Appennino Settentrionale 4, Scala 1:250,000, Firenze: ConsiglioNazionale Delle Ricerche.
Allen J.R.M., Watts W.A., McGee E., Huntley B. (2002), Holocene environmental variability-the record from Lago Grande di Monticchio,Italy, «Quaternary International», 88, pp. 69–80.
Baffico O., Cruise, G.M., Macphail R.I., Maggi R., Nisbet R. (1987), MonteAiona – Prato Mollo, in Archeologia in Liguria III.1, Scavi e scoperte 1982-86, Preistoria e Protostoria, a cura di P. Melli, A. Del Lucchese, Genova: Soprintendenza Archeologica della Liguria, pp. 57-66.
Bedford K. (2013), Holocene environmental history of the Tuscan-EmilianApennines: a case study from Prato Spilla, Reading: Undergraduate Dissertation, Department of Geography and Environmental Science, University of Reading.
Belis C.A., Finsinger W., Ammann B. (2008), The late glacial–Holocenetransition as inferred from ostracod and pollen records in the Lago Piccolodi Avigliana (Northern Italy), «Palaeogeography, palaeoclimatology, palaeoecology», 264(3), pp. 306-317.
Bellini C., Mariotti-Lippi M., Montanari C. (2009), The Holocene landscapehistory of the NW Italian coasts, «The Holocene», 19, pp. 1161-1172.
Birks H.J.B., Gordon A.D. (1985), Numerical Methods in Quaternary PollenAnalysis, London: Academic Press.
Blasi C., a cura di (2010), La vegetazione d’Italia, Roma: Palombi and Partner.
Bond G., Showers W., Cheseby M., Lotti R., Almasi P., deMenocal P., PrioreP., Cullen H., Hajdas I., Bonani G. (1997), A pervasive millennial-scale cyclein North Atlantic Holocene and glacial climates, «Science», 278, pp. 1257-1266.
Braggio G., Guido M.A., Montanari C. (1991), Palaeovegetational evidencein the Upper Nure valley (Ligurian-Emilian Apennines, Northern Italy), «Webbia», 46, pp. 173-185.
Branch N.P. (2002), L’analisi palinologica per lo studio della vegetazione edella sua gestione, in Archeologia in Valle Lagorara, a cura di N. Campana, R. Maggi, Firenze: Istituto Italiano Di Preistoria e Protostoria, pp. 339-353.
Branch N.P. (2004), Late Würm Lateglacial and Holocene environmentalhistory of the Ligurian Apennines, Italy, in Ligurian Landscapes: studies onarchaeology, geography and history, edited by R. Balzaretti, M. Pearce, C. Watkins, London: Accordia Research Institute, pp. 7-69.
Branch N.P. (2013), Early – Middle Holocene vegetation history, climate change and human activities at Lago Riane (Ligurian Apennines, NW Italy), «Vegetation History and Archaeobotany», 22, pp. 315-334.
Branch N.P., Marini A.F. (2014), Mid-Late Holocene Environmental Change and Human Activities in the northern Apennines, Italy, «Quaternary International», 353, pp. 34-51.
Branch N.P., Canti M.G., Clark P., Turney C.S.M. (2005), Environmental Archaeology, Theoretical and Practical Approaches, London: Arnold.
Branch N.P., Black S., Maggi R., Marini A.F. (2014), The Neolithisation of Liguria (NW Italy): An environmental archaeological and palaeoenvironmental perspective, «Environmental Archaeology», 19, pp. 196-213.
Brewer S., François L., Cheddadi R., Laurent J.-M., Favre E. (2009), Comparisonof simulated and observed vegetation for the mid-Holocene in Europe, «Climate of the Past Discussions», 5, pp. 965-1011.
Bronk Ramsey C. (1995), Radiocarbon calibration and analysis of stratigraphy: the oxcal program, «Radiocarbon», 37(2), pp. 425-430.
Bronk Ramsey C. (2001), Development of the radiocarbon program oxcal, «Radiocarbon», 43(2a), pp. 355-363.
Bronk Ramsey C. (2007), Deposition models for chronological records, «Quaternary Science Reviews», 27 (1-2), pp. 42-60.
Cruise G.M. (1990a), Holocene peat initiation in the Ligurian Apennines, northern Italy, «Review of Palaeobotany and Palynology», 63, pp. 173-182.
Cruise G.M. (1990b), Pollen stratigraphy of two Holocene peat sites inthe Ligurian Apennines, northernItaly, «Review of Palaeobotany and Palynology», 63, pp. 299-313.
Cruise G.M., Macphail R.I., Linderholm J., Maggi R., Marshall P.D. (2009), Lago di Bargone, Liguria, N Italy: a reconstruction of Holocene environmental and land-use history, «The Holocene», 19, pp. 987-1003.
Cugny C., Mazier F., Galop D. (2010), Modern and fossil non-pollen palynomorphs from the Basque mountains (western Pyrenees, France): the use of coprophilous fungi to reconstruct pastoral activity, «Vegetation History and Archaeobotany», 19, pp. 391-408.
Doveri F. (2007), Fungi Fimicoli Italici. A Guide to the Recognition of Basidiomycetes and Ascomycetes Living on Faecal Material, Trento: Associazione Micologica Bresadola. Finsinger W., Tinner W., van der Knaap W.O., Ammann B. (2006), The expansion of hazel (Corylus avellana L.) in the southern Alps: a key for understanding its early Holocene history in Europe?, «Quaternary Science Reviews», 25, pp. 612-631.
García D., Stchigel A.M., Guarro J. (2004), Two new species of Sphaerodes from Spanish soils, «Studies in Mycology», 50, pp. 63-68.
Gentile S. (1982), Zonazione altitudinale della vegetazione in Liguria, «Lavoridella Società Italiana di Biogeografi a», 9, pp. 1-19.
Giguet-Covex C., Pansu J., Arnaud F., Rey P.J., Griggo C., Gielly L., Domaizon I., Coissac E., David F., Choler F., Poulenard J., Taberlet P. (2014), Long livestock farming history and human landscape shaping revealed by lake sediment DNA, «Nature Communications», 5:3211doi: 10.1038/ncomms4211.
Grimm E.C. (1991-2011), Tilia v1.7.16, Springfi eld: Illinois State Museum.
Guido M.A., Menozzi B.I., Bellini C., Placereani S., Montanari C. (2013), A palynological contribution to the environmental archaeology of a Mediterranean mountain wetland (North West Apennines, Italy), «The
Holocene», 11, pp. 1517-1527.
Heiri O., Filippi M.L., Lotter A.F. (2007), Lateglacial summer temperature in the Trentino area (Northern Italy) as reconstructed by fossil chironomidassemblages in Lago di Lavarone (1100 m asl), «Studi Trentini di Scienze Naturali – Acta Geologica», 82, pp. 299-308.
Jalut G., Dedoubat J.J., Fontugne M., Otto T. (2009), Holocene circum-Mediterranean vegetation changes: climate forcing and human impact, «Quaternary International», 200, pp. 4-18.
Krug J.C., Benny G.L., Keller H.W. (2004), Coprophilous fungi, in Biodiversityof Fungi, Inventory and Monitoring Methods, edited by M. Foster, Amsterdam: Academic Press, pp. 467-499.
Lauterbach S., Chapron E., Brauer A., Hüls M., Gilli A., Arnaud F., Piccin A., Nomade J., Desmet M., von Grafenstein U., DecLakes Participants (2012), Asedimentary record of Holocene surface runoff events and earthquake activityfrom Lake Iseo (Southern Alps, Italy), «The Holocene», 22(7), pp. 749-760.
Lorenzini, R., Lovari, S., Masseti, M. (2002), The rediscovery of the Italian roe deer: genetic differentiation and management implications, «Italian Journal of Zoology», 69(4), pp. 367-379.
Losacco U. (1982), Gli antiche ghiacciaci dell’Appennino settentrionale, «Atti della società dei Naturalisti e Matematici di Modena», 113, pp. 1-224.
Lowe J.J. (1992), Lateglacial and early Holocene lake sediments from thenorthern Apennines, Italy – pollen stratigraphy and radiocarbon dating,« Boreas», 21, pp. 193-208.
Lowe J.J., Watson C. (1993), Lateglacial and Early Holocene pollen stratigraphyof the Northern Apennines, Italy, «Quaternary Science Reviews», 12, pp. 727-738.
Lowe J.J., Branch N., Watson C. (1994a), The chronology of human disturbanceof the vegetation of the northern Apennines during the Holocene, in Highland zone exploitation in southern Europe, edited by P. Biagi, J. Nandris, Brescia:Museo Civico Di Scienze Naturali, pp. 171-189.
Lowe J.J., Davite C., Moreno D., Maggi R. (1994b), Holocene pollenstratigraphy and human interference in the woodlands of the northernApennines, Italy, «The Holocene», 4, pp. 153-164.
Maggi R., a cura di (1990), Archeologia dell’Appennino Ligure gli scavi delCastellaro di Uscio: un insediamento di crinale occupato dal Neoliticoalla conquista Romana, Bordighera: Istituto internazionale di studi liguri (Collezione di Monografi e Preistoriche ed Archeologiche 8).
Maggi R., a cura di (1997), Arene Candide: a Functional and Environmental Assessment of the Holocene Sequence, Roma: Il Calamo.
Maggi R. (1999), Coasts and uplands in Liguria and Northern Tuscany fromthe Mesolithic to the Bronze Age, in Social Dynamics of the Prehistoric Central Mediterranean, edited by R.H. Tykot, J. Morter, J.E. Robb, London: Accordia Research Institute, pp. 47-65.
Maggi R. (2004), I monti sun eggi: the making of the Ligurian landscape inprehistory, in Ligurian Landscapes: studies on archaeology, geography andhistory, edited by R. Balzaretti, M. Pearce, C. Watkins, London: AccordiaResearch Institute, pp. 71-82.
Maggi R., Nisbet R. (1990), Prehistoric pastoralism in Liguria, «Rivista distudi liguri», 56, pp. 265-296.
Mariotti M.G. (1995), Osservazioni sulla vegetazione della Liguria, in La Vegetazione Italiana, Roma: Accademia dei Lincei, pp. 189-227.
Marzatico F. (2007), La frequentazione dell’ambiente montano nel territorioatesino fra l’età del Bronzo e del Ferro: alcune considerazioni sulla pastorizia transumante e“l’economia di malga”, «Preistoria Alpina», 42, pp. 163-182.
Mayewski P.A., Rohling E.E., Stager J.C., Karlen W., Maasch K.A., MeekerL.D., Meyerson A., Gasse F., van Kreveld S., Holmgren K., Lee-Thorp J.,Rosqvist G., Rack F., Staubwasser M., Schneider R.R., Steig E.J. (2004),Holocene climate variability, «Quaternary Research», 62, pp. 243-255.
Mazier F., Galop D., Gaillard M.J., Rendu C., Cugny C., Legaz A., PeyronO., Buttler A. (2009), Multidisciplinary approach to reconstructing localpastoral activities: an example from the Pyrenean Mountains (Pays Basque),«The Holocene», 19, pp. 171-188.
Menozzi B.I., Bellini C., Cevasco A., Cevasco R., de Pascale A., Guido M.A.,Maggi R., Moe D., Montanari C., Moreno D. (2007), The archaeology of a peat bog in context: contribution to the study of biodiversifi cation processes in historical time (Ligurian Apennines, NW Italy). Communication presented at the Medieval Europe Paris 2007 – 4th International Congress of Medieval and Modern Archaeology, pp. 1-11.
Menozzi B.I., Zotti M., Montanari C. (2010), A non-pollen palynomorphs contribution to the local environmental history in the Ligurian Apennines: a preliminary study, «Vegetation History and Archaeobotany», 19, pp. 503-512.
Mercuri A.M., Accorsi C.A., Mazzanti M.B. (2002), The long history of Cannabis and its cultivation by the Romans in central Italy, shown by pollenrecords from Lago Albano and Lago di Nemi, «Vegetation History andArchaeobotany», 11(4), pp. 263-276.
Mercuri A-M., Sadori L., Uzquiano Ollero P. (2011), Mediterranean and north-African cultural adaptations to mid-Holocene environmental and climaticchanges, «The Holocene», 21, pp. 189-206.
Mercuri A.M., Allevato E., Arobba D., Mazzanti M.B., Bosi G., CaramielloCastiglioni E., Carra M.L., Celant A., Costantini L., Di Pasquale G.,Fiorentino G., Florenzano A., Guido M., Marchesini M. Mariotti Lippi M.,Marvelli S., Miola A., Montanari C., Nisbet R., Peña-Chocarro L., PeregoR., Ravazzi C., Rottoli M., Sadori L., Ucchesu M., Rinaldi R. (2014), Pollenand macroremains from Holocene archaeological sites: a dataset for theunderstanding of the bio-cultural diversity of the Italian landscape, «Reviewof Palaeobotany and Palynology», 218, pp. 250-266.
Montanari C., Guido M.A., Cornara L., Placereani S. (1998), Tracce pollinichedi boschi neolitici di abete bianco in Val Bisagno (area urbana di Genova), «Biogeographia», 19, pp. 133-143.
Moore P.D., Webb J.A., Collinson M.E. (1991), Pollen Analysis, Oxford: Blackwell Science.
Morandi L. (in preparation), Non-pollen palynomorphs as an aid to the identification of ancient farming activities: an experimental and archaeologicalapproach, Unpublished PhD Thesis, Department of Archaeology, University of Reading.
Peyron O., Goring S., Dormoy I., Kotthoff U., Pross J., de Beaulieu J.-L., Drescher-Schneider R., Vannière B., Magny M. (2011), Holocene seasonality changes in the central Mediterranean region reconstructed from the pollen sequences of Lake Accesa (Italy) and Tenaghi Philippon (Greece), «The Holocene», 21, pp. 131-146.
Reille M. (1992), Pollen et spores D’Europe et D’Afrique du Nord, Marseille: Laboratoire de Botanique Historique et Palynologie.
Reimer P.J, Baille M.G.L., Bard E., Bayliss A., Beck J.W., Bertrand C.J.H., Blackwell P.G., Buck C.E., Burr G.S., Cutler K.B., Damon P.E., EdwardsR.L., Fairbanks R.G., Friedrich M., Guilderson T.P., Hogg A.G., Hughen K.A., Kromer B., McCormac G., Manning S., Bronk Ramsey C., Reimer R.W., Remelle S., Southon J.R., Stuiver M., Talamo S., Taylor F.W., Van der Plicht J., Weyhenmeyer C.E. (2004), IntCal04 terrestrial radiocarbon age calibration, 0-26 cal kyr BP, «Radiocarbon», 46 (3), pp. 1029-1058.
Renssen H., Seppä H., Crosta X., Goosse H., Roche D.M. (2012), Global characterization of the Holocene Thermal Maximum, «Quaternary Science Reviews», 48, pp. 7-19.
Richardson M.J. (1972), Coprophilous ascomycetes on different dung types, «Transactions of the British Mycological Society», 58 (1), pp. 37-48.
Roberts N., Jones M.D., Benkaddour A., Eastwood W.J., Filippi M.L., FrogleyM.R., Lamb H.F., Leng M.J., Reed J.M., Stein M., Stevens L., Valero- Garcés V., Zanchetta G. (2008), Stable isotope records of Late Quaternary climate and hydrology from Mediterranean lakes: the ISOMED synthesis, «Quaternary Science Reviews», 27, pp. 2426-2441.
Rowley-Conwy P. (1997), The animal bones from Arene Candide. Finalreport, in Arene Candide: a functional and environmental assessment of theHolocene sequence (Excavations Bernabò Brea – Cardini, 1940-50), edited by R. Maggi, Roma: Il Calamo, pp. 153-277.
Spagnesi M., De Marinis A.M., a cura di (2002), Mammiferi d’Italia, Roma: Ministero dell’Ambiente – Istituto Nazionale per la Fauna Selvatica.
Stuiver M., Reimer P.J. (1986), A computer program for radiocarbon age calculation, «Radiocarbon», 28(2B), pp. 1022-1030.
Troels-Smith J. (1955), Karakterisering af løse jordater (Characterisation ofunconsolidated sediments), «Danmarks Geologiske Undersøgelse», 4, pp. 38-73.
UNESCO-FAO (1969), Ecological study of the Mediterranean zone, vegetationmap of the Mediterranean zone and explanatory notes, UNESCO.van Geel B., Buurman J., Brinkkemper O., Schelvis J., Aptroot A., van Reenen
G.B.A., Hakbijl T. (2003), Environmental reconstruction of a Roman Periodsettlement site in Uitgeest (The Netherlands), with special reference tocoprophilous fungi, «Journal of Archaeological Science», 30, pp. 873-883.
Vescovi E., Ammann B., Ravazzi C., Tinner W. (2010), A new Late-glacialand Holocene record of vegetation and fi re history from Lago del Greppo, northern Apennines, Italy, «Vegetation History and Archaeobotany», 19, pp. 219-233.
Vujanovic V., Goh Y.K. (2009), Sphaerodes mycoparasitica sp. nov., a newbiotrophic mycoparasite on Fusarium avenaceum, F. graminearum and Foxysporum, «Mycological Research», 113, pp. 1172-1180.
Watson C. (1996), The vegetational history of the northern Apennines, Italy: information from three new sequences and a review of regional vegetational changes, «Journal of Biogeography», 23, pp. 805-841.
Watts W.A., Allen J.R.M., Huntley B. (1996a), Vegetation history and palaeoclimate of the last glacial period at Lago Grande di Monticchio, southern Italy, «Quaternary Science Reviews», 15, pp. 133-153.
Watts W.A., Allen J.R.M., Huntley B., Fritz S.C. (1996b), Vegetation history and climate of the last 15,000 years at Laghi di Monticchio, southern Italy, «Quaternary Science Reviews», 15, pp. 113-132.

